ЭкоТермент.Логотип
ЭкоТермент. Логотип
+375 17 33 66 333
+375 17 33 60 613

Пряморельсовая вытяжная система «SBT»

 
Пряморельсовая вытяжная система SBT
Производство: Вентиляционный завод «PlymoVent»
Гарантия: 24 месяца
Документы: Паспорта, Изображения
   
Назначение

Вытяжная система со скользящим балансиром специально предназначена для оборудования небольших гаражей пожарных станций, станций скорой помощи, гаражей МЧС или воинских частей, которая позволяет удалять выхлопные газы от выхлопной трубы автомобиля, обеспечивая свободу перемещения последнего внутри помещения.

Такая система применяется для гаражей, в которых автомобили паркуются в колонну и обязательно комплектуется средствами автоматического отсоединения газоприемной насадки от выхлопной трубы автомобиля, при выезде последнего из гаража на экстренный вызов.

На каждое парковочное место устанавливается собственная рельсовая система, которая может обслуживать только один автомобиль. Выхлопная труба должна располагаться сбоку и в нижней части автомобиля. Расстояние от выездных ворот до выхлопной трубы автомобиля не должно превышать 10 м.

Функционирование

Сечение трекаОсновой вытяжной системы является алюминиевый трек (направляющий рельс) прямоугольного сечения (1). Трек имеет верхнюю секцию (А) с продольным пазом, которая необходима для крепления монтажных опор, держателя вытяжного шланга и укладки шлангов подачи сжатого воздуха. Средняя секция (В) служит стабилизатором. Нижняя секция (С) с продольным пазом предназначена для перемещения роликовой каретки (2), ходовая часть которой перемещается внутри этой секции, а также для установки концевых стопоров каретки.

Подвижная кареткаПо треку, вслед за автомобилем, перемещается роликовая каретка (2), на которой закреплен балансир (3), поддерживающий вытяжной шланг (5) при помощи резиновой поддержки (4) в форме петли. Вытяжной шланг с пневмозахватом подключен к выхлопной трубе автомобиля.

Каретка снабжена отключающей пластиной, которая при выезде автомобиля из гаража включает стравливающий клапан, в результате чего на перепускной клапан пневмозахвата подается отключающий импульс сжатого воздуха и он автоматически отсоединяется.

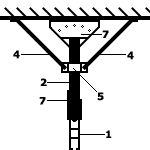
Держатель вытяжного шлангаНа верхнюю часть трека монтируется держатель (6) вытяжного шланга (5), который снабжен специальным патрубком для подключения к вентиляционной системе. С одной стороны патрубка держателя крепится вытяжной шланг, а к другой подключается воздуховод, ведущий к вытяжному вентилятору. Работой вентилятора управляет аппарат автоматического контроля с датчиком давления. Датчик реагируют на повышение/понижение давления в воздуховоде за счет воздействия выхлопных газов и монтируется непосредственно в воздуховод, рядом с местом стыка. Торцы нижней секции трека снабжаются концевыми стопорами с резиновыми колодками (располагаются внутри секции), которые тормозят каретку.

Конструкция

Основные узлы вытяжной системы:

  • Направляющий рельс (поставляется секциями длиной 5,8 м и 2,9 м). Для стыковки секций предлагаются специальные соединительные элементы. Максимально возможная протяженность рельсовой системы 9 м.
  • Комплект оборудования «SBT-KIT», включающий подвижную каретку, балансир, стравливающий клапан, концевые ограничители движения каретки, обозначающие наклейки.
  • Набор «SBT-HK», включающий вытяжной шланг «EH-PV», пневмозахват «GRABBER» и пр. принадлежности.

Примечание

1. Модель набора «SBT-HK» выбирается в зависимости от автотранспорта, который предполагается обслуживать. Например, для автотранспорта с мощностью двигателя до 150 л.с. требуется вытяжной шланг диаметром 100 мм, что означает необходимость выбора соответствующего набора.

Крепление вытяжной системы:

  • Комплект крепления рельса (1) к стене состоит из опорной балки (2) длиной 5,8 м, кронштейнов (3) и (6), боковой опоры (4) и монтажных скоб (5).
  • Комплект крепления рельса (1) к потолку состоит из опорной балки (2) длиной 5,8 м, кронштейнов (7), боковых опор (4) и монтажных скоб (5).

Крепление к стенеКрепление к потолку

Основы проектирования вытяжной системы

Трек заказывается длиной равной расстоянию между выездными воротами и выхлопной трубой автомобиля (L). Между воротами и ближайшим торцом трека необходимо оставить свободное пространство (L1) в пределах 1,8-2,5 м, а от боковой части автомобиля, где расположена его выхлопная труба, до трека должно быть свободное пространство в пределах 400-600 мм.

Эскиз гаража, вид сбоку
Эскиз гаража, вид сверху

Опора для крепления вытяжного шланга располагается на расстоянии (L2) + (L3) от выездных ворот, где (L2) равно половине расстояния (L), а длина (L3) находится в пределах 600-1200 мм.

Длина вытяжного шланга выбирается в зависимости от протяженности трека, а учитывая рекомендуемую высоту подвешивания (H) трека 3,5-4 м это может быть шланг с длиной 6 м или 10 м.

Примечание

1. Приведенный перечень узлов системы и вариантов ее построения не является полным. Подробный перечень узлов и их назначение Вы найдете в прайс-листе, а за консультацией обращайтесь, пожалуйста, к специалистам фирмы.

2. Система предлагается в виде стандартных комплектов всего необходимого для своего построения оборудования, что избавляет Заказчика от сложного проектирования, расчета и подбора оборудования.

НОВОСТИ И СОБЫТИЯ
26.05.2015 ВНИМАНИЕ!!!В связи с переездом изменились телефоны и адрес компании
05.03.2015 Приглашаем на выставку " Сварка и резка 2015!"
09.09.2014 Новинка: панель стационарная вытяжная «СВП-5000»
06.05.2014 Новинка: пресепаратор вертикальный «VPS»


RECLAMA